■ G型螺杆泵产品概述:

单螺杆泵在发达国家已广泛使用,国外多数称单螺杆泵为“莫诺泵”《MONOPUMPS》,德国称为“偏心转子泵”。由于其优良的性能,近年来在国内的应用范围也在迅速扩大。
它的大特点是对介质的适应性强、流量平稳、压力脉动动小、自吸能力高,这是其它任何泵种所不能替代的。
我公司对国外(如:德、英、法、日本等国)生产的单螺杆泵及国内同行业的产品,作了分析与研究,博取众长,对自己的产品进行不断的改革创新。目前我单位的产品已自成一个体系,压力为0.6~1.2MPa,特殊要求压力可达3MPa,可满足广大用户对单螺杆泵的不同需求。
我单位生产的螺杆泵,质量可靠,实行三包,价格也相对较低,同时确保备品备件的正常供应。
本单位热忱为广大用户服务,接受用户对特殊要求单螺杆泵的设计和制造任务。
■ G型螺杆泵型号意义:

■ G型螺杆泵工作特点:
G型螺杆泵是一种内啮合回转式容积泵,当单线螺旋的转子在双线的螺旋定子孔内绕定子轴线作行星回转时,转子一定子付之间形成的密闭腔就连续的、匀速的、容积不变的将介质从吸入端输送到输出端。由于这些特性,单螺杆泵特别适合下列工况的工作:
一高粘度介质的输送。介质粘度根据泵的转速不同,高达1.000.000CPS的物料也可有效输送。压力可达0.6、1.2、1.8、2.4。被输送介质温度80℃以下(特殊要求可达150℃)。
一含固体颗粒或纤维的介质。颗粒粒径大可以到20mm(不超过转子偏心),纤维长度长可以到150mm(相当0.4倍转子螺距),固体含量一般可达30%,当介质所含固体为粒末状细微颗粒时,多可达70%或更高。
一要求输送连续、压力稳定,不出现往复泵的周期性脉动。
一要求输送搅动小,不剪切被输送介质的原有结构。
一传动可采用联轴器直接传动,或采用调速电机、三角带、变速箱等装置变速。
一流量与转速成线性关系,可以方便的通过调整转速来调整流量,达以控制流量的目的。
请注意:
1、性能表的试验数据以20℃的清水为介质,粘度是1 mm2/s。
2、当泵输送高粘度或有颗粒的介质时,根据介质的性质,泵的转速必须不同。
3、当泵输送不同磨损性介质时,泵的转速也必须不同。
■ G型螺杆泵性能特点:
·高吸上高度可6米水柱
·可双向旋转,双向输送(需配备反转定子)
·安装方式灵活.
·运行顺畅、平稳、噪音低、无脉动、无剪切
·输送介质温度范围-20℃~+150℃
·单螺杆泵零件少,结构紧凑,体积小,维修简便,转子和定子是本泵的易损件,结构简单,便于装拆。传动可采用联轴器直接传动,或采用调速电机,三角带,变速箱等装置变速。凯亿泵阀是制造、设计、生产单螺杆泵的专业厂家。不同的螺杆泵其具体使用场合亦有所不同。
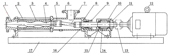
■ G型螺杆泵结构图:

| 1 | 出料口 | 4 | 螺杆轴 | 7 | 连节轴 | 10 | 轴承座 | 13 | 连轴器 | 16 | 传动轴 |
| 2 | 拉杆 | 5 | 万向节总成 | 8 | 填料座 | 11 | 轴承盖 | 14 | 轴套 | 17 | 底座 |
| 3 | 定子 | 6 | 吸入口 | 9 | 填料压盖 | 12 | 电动机 | 15 | 轴承 |
■ G型螺杆泵应用范围:
一般来说单螺杆泵可作为一种通用泵。运行速度可高可低,泵的出口额定压力可随泵的级数增加而增加,每增加一级,压力就增加0.6MPa,所以使用范围极广。
1、环境保护:工业污水、生活污水、含有固体颗粒及短纤维的污泥浊水的输送。特别适用于油水分离器,板框压滤机等设备。
2、船舶工业:轮底清洗、油水、油渣、油污水等介质的输送。
3、石油工业:输送原油。近年来,尤其成功地抽吸地下千米之深的原油与水的混合物,煤田里的煤田气和水的混合物,从而大大降低了机械采油、采煤田气的成本。当油田带了后期,使用螺杆泵往地层内灌注聚合物增加油田采收率。
4、医药、日化:各种粘稠浆、乳化液、各种软膏化妆品等的输送。
5、食品罐头业:各种粘稠淀粉、食油、蜂蜜、糖酱、果浆、奶油、鱼糜肉糜以及其下脚料的输送。
6、酿造业:各种发酵粘稠液、浓酒糟、粮食制品渣、各种酱类、浆和含有块状固态物的粘液等。
7、建筑工业:水泥沙浆、石灰浆、涂料及其它糊状体的喷涂与输送。
8、采矿工业:矿井内的含固体颗粒的地下和污浆水等排送到地面。
9、化学工业:各种悬浮液、油脂、各种胶体浆、各种粘合剂。
10、印刷、造纸工业:高粘度油墨、墙纸的PVC高分子塑料糊和各种浓度的纸浆,短纤维浆料的输送。
■ G型螺杆泵性能参数:
| 型 号 | 转速 r/min | 流量 m3/h | 压力 MPa | 电机 KW | 扬程 m | 进口 mm | 出口 mm | 允许颗粒直径 mm | 允许维修长度 mm |
| G20-1 | 960 | 0.8 | 0.6 | 0.75 | 60 | 25 | 25 | 1.5 | 25 |
| G25-1 | 960 | 2 | 0.6 | 1.5 | 60 | 32 | 25 | 2 | 30 |
| G25-2 | 960 | 2 | 1.2 | 2.2 | 120 | 32 | 25 | 2 | 30 |
| G30-1 | 960 | 5 | 0.6 | 2.2 | 60 | 50 | 40 | 2.5 | 35 |
| G30-2 | 960 | 5 | 1.2 | 3.0 | 120 | 50 | 40 | 2.5 | 35 |
| G35-1 | 960 | 8 | 0.6 | 3.0 | 60 | 65 | 50 | 3 | 40 |
| G35-2 | 960 | 8 | 1.2 | 4.0 | 120 | 65 | 50 | 3 | 40 |
| G40-1 | 960 | 12 | 0.6 | 4.0 | 60 | 80 | 65 | 3.8 | 45 |
| G40-2 | 960 | 12 | 1.2 | 5.5 | 120 | 80 | 65 | 3.8 | 45 |
| G50-1 | 960 | 20 | 0.6 | 5.5 | 60 | 100 | 80 | 5 | 50 |
| G50-2 | 960 | 20 | 1.2 | 7.5 | 120 | 100 | 80 | 5 | 50 |
| G60-1 | 960 | 30 | 0.6 | 11 | 60 | 125 | 100 | 6 | 60 |
| G60-2 | 960 | 30 | 1.2 | 15 | 120 | 125 | 100 | 6 | 60 |
| G70-1 | 960 | 45 | 0.6 | 15 | 60 | 150 | 125 | 8 | 70 |
| G70-2 | 720 | 45 | 1.2 | 18.5 | 120 | 150 | 125 | 8 | 70 |
| G85-1 | 720 | 65 | 0.6 | 15 | 60 | 150 | 150 | 10 | 80 |
| G105-1 | 500 | 100 | 0.6 | 22 | 60 | 200 | 200 | 15 | 110 |
| G135-1 | 400 | 150 | 0.6 | 37 | 60 | 250 | 250 | 20 | 150 |
注意:1、性能表的试验数据以20℃的清水为介质,粘度是1mm2/s。
2、当泵输送高粘度式有颗粒的介质时,根据介质的性质。泵的转速必须不同。
3、当泵输送不同的磨损性介质时,泵的转速也必须不同。
■ G型螺杆泵输送方式:

■ G型螺杆泵根据介质粘度选择泵的转速:
| 介质粘度 | 1-1000 (CSt) | 1000-10000(CSt) | 10000-100000(CSt) | 100000-1000000(CSt) |
| 转 速 | 600-1000 | 300-600 | 200-400 | 20-100 |
■ G型螺杆泵根据介质的磨损性选择泵的转速:
| 无磨损性 | 淡水、促凝剂、油、浆汁、肉沫、肥皂水、血液、甘油等 | 600-1000 |
| 一 般 | 泥浆、工业废水、油漆颜料、粘灰浆、鱼、麸、菜籽油过滤后的沉积物等 | 300-600 |
| 严 重 | 石灰浆、粘土、灰泥、陶土 | 50-200 |
■ G型螺杆泵橡胶套的选择:
G型螺杆泵橡胶套的选择螺杆泵衬套为橡胶制品,也是单螺杆泵的一个易损件,它的选择好坏,直接影响衬套的寿命,一般正常情况下衬套的寿命为3-6个月,如果选用不当,衬套可能从钢管中脱落或橡胶掉块。所以要求我们对橡胶的基本特性及橡胶对各种不同介质的适应性有所了解,根据我们的经验列出表四、表五。
表四:橡胶基本特性
| 橡胶特性 | 丁晴橡胶NBR | 氯丁橡胶CR | 氟橡胶PPM | 乙丙橡胶EPDM |
| 耐高温度 | +120°C | +110°C | +200°C | +150°C |
| 耐磨性 | 优 | 很好 | 优 | 很好 |
| 耐老化性 | 很好 | 很好 | 优 | 优 |
| 耐臭氧 | 不行 | 优 | 优 | 优 |
| 耐蒸汽 | 很好 | 不行 | 优 | 优 |
| 耐燃性 | 很好 | 优 | 优 | 优 |
表五:单螺杆泵的衬套常用橡胶
| 橡胶的适应性 | 乙丙橡胶EPDM | 氟橡胶PPM | 氯丁橡胶CR | 丁晴橡胶NBR |
| 水(污水) | 很好 | 很好 | 很好 | 很好 |
| 植物油 | 一般 | 很好 | 一般 | 很好 |
| 矿物油 | 不行 | 很好 | 一般 | 很好 |
| 氨水 | 一般 | 不行 | 不行 | 很好 |
| 芳香族溶剂 | 不行 | 很好 | 不行 | 不行 |
| 浓碱 | 很好 | 不行 | 很好 | 很好 |
| 浓硝酸 | 不行 | 一般 | 不行 | 不行 |
| 冰醋酸 | 不行 | 很好 | 不行 | 很好 |
| 稀硫酸 | 很好 | 很好 | 不行 | 很好 |
| 浓硫酸 | 一般 | 很好 | 不行 | 不行 |
| 稀盐酸 | 很好 | 很好 | 很好 | 很好 |
| 浓盐酸 | 很好 | 很好 | 不行 | 很好 |
| 热水 | 很好 | 不行 | 不行 | 一般 |
| 汽油 | 不行 | 很好 | 一般 | 很好 |
| 甲苯 | 不行 | 很好 | 不行 | 不行 |
| 二甲苯 | 不行 | 很好 | 不行 | 不行 |
| 乙醇 | 很好 | 很好 | 很好 | 一般 |
| 煤油 | 不行 | 很好 | 很好 | 很好 |
| 柴油 | 不行 | 很好 | 不行 | 很好 |
| 氯化烃 | 不行 | 一般 | 不行 | 不行 |
| 含酮类物料 | 很好 | 不行 | 不行 | 不行 |
| 含醇类物料 | 很好 | 很好 | 很好 | 很好 |
| 含脂类物料 | 很好 | 不行 | 不行 | 不行 |
| 含醚类物料 | 很好 | 不行 | 不行 | 不行 |
| 泥浆 | 很好 | 一般 | 一般 | 很好 |
| 磷酸 | 很好 | 一般 | 很好 | 一般 |
| 碳酸钠 | 很好 | 不行 | 很好 | 很好 |
| 糖醛 | 很好 | 一般 | 一般 | 一般 |
| 苯100 | 不行 | 很好 | 不行 | 不行 |
| 丙酮 | 很好 | 不行 | 不行 | 不行 |
| 亚麻子油 | 很好 | 很好 | 很好 | 很好 |
| 二硫化碳 | 不行 | 很好 | 不行 | 不行 |
■ G型螺杆泵使用注意事项:
1、开机前必先确定运转方向,不得反转。
2、严禁在无介质情况下空运转,以免损坏定子。
3、新安装或停机数天后的泵,不能立即起动,应先向泵体内注入适量机油,再用管子钳板动几转后才可起动。
4、输送高粘度或含颗粒及腐蚀性的介质后,应用水或深剂进行冲洗,防止阻塞,以免下次起动困难。
5、冬季应排除积液,防止冻裂。
6、使用过程中轴承箱内应定期加润滑油,发现轴端有渗流时,要及时处理或调换油封。
7、在运行中如发生异常情况,应立即停车检查原因,排除故障。





